Hose Clamps

More than 80 years with Innovation and Technology


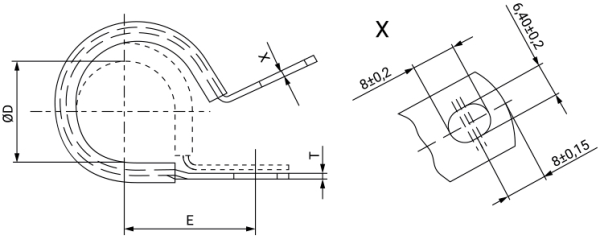
SMS P-Clip

Mikalor SMS P-Clips are particularly ideal for attaching and retaining cable conduits, hoses and tubes in sectors such as construction, sanitary and automotive. They are widely used in agricultural machinery, boatbuilding and commercial vehicles.

Available in two bandwidths: 12.7mm (with an M6 hole) and 15.9mm (with an M8 hole).

 

Benefits:

  • Versatile Design: Unlike the DIN 3016 P-Clip, the P-Clip SMS has an oval front hole and a round rear hole for greater mounting flexibility.
  • Protection: The EPDM rubber profile provides a good grip, eliminating vibration and preventing damage to the application area.
  • Custom Options: Special diameters and other types of rubber lining available on request.

What quality do you need?

Brochure-SMS.pdf
Download |

Material:
W1 Galvanized Steel S350 + Z275

Corrosion resistance:
144 hours salt spray (ASTM B-117)

View All references